Набор прижимов Piher TCP, для сварочного стола. Прижим для сварочных работ, применяется совместно co сварочными столами, или сборочными столами. Прижим Piher предназначен для горизонтального и вертикального зажима заготовок. Стержни выполнены из оцинкованной конструкционной стали. Сменная эргономичная поворотная ручка изготовлена из прочного полиамида. В комплект входят ограничительные кольца для быстрой установки необходимых размеров и повторяемости операций, специальные губки для прижима труб, два переходника на 22мм и 28мм. В торце прижимного поршня предусмотрено отверстие с резьбой М6 для установки специальных губок, для зажатия труб.
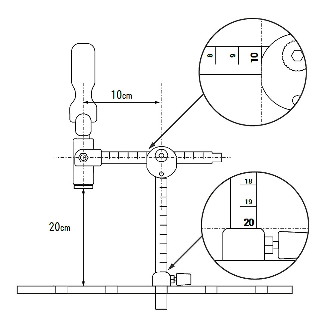
- Диаметр стержня - 16мм
- Максимальная высота захвата — 200мм (7,8'').
- Максимальный вылет по горизонтали — 160мм (6,3'')
- Поворотный шарнир с возможностью регулировки угла зажима — 40град.
- Максимальное давление прижима — 350кг.
- Ход поршня прижима — 29мм.
- Два адаптера для отверстий на 22мм и 28мм.
- Губки с адаптером на 16мм для установки в стол.
Производство Piher, Испания
