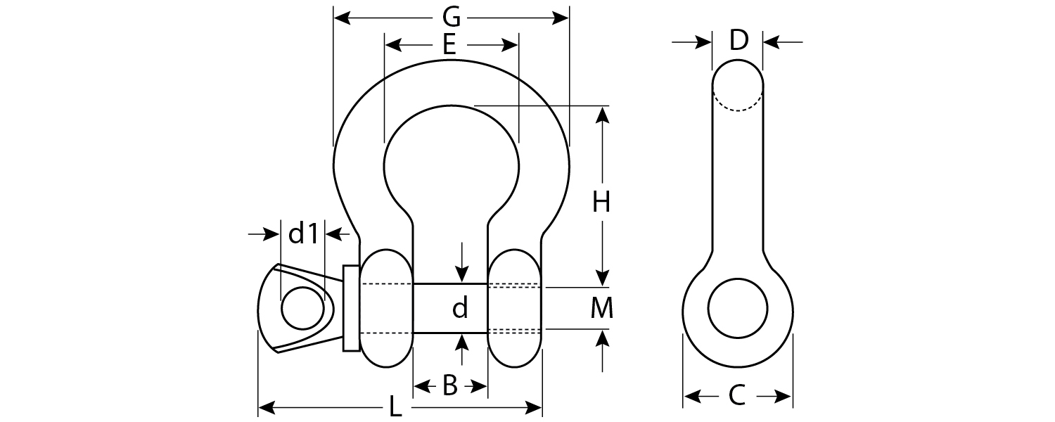
Грузовой крепеж предназначен для фиксации и перемещения грузов с помощью цепей и тросов в различных грузоподъемных механизмах и устройствах. Обладает повышенной прочностью и стойкостью к износу, выдерживает значительные нагрузки без деформации. Такелажная скоба служит вспомогательным элементом при подъеме и перемещении грузов. Литой корпус имеет омегообразную форму и выдерживает значительные нагрузки.
Преимущества
- Омегообразная форма облегчает использование скобы при многоплечевом устройстве такелажа
- Быстрая разборка/сборка соединения за счет удобной конструкции скобы
- Цинковое покрытие надежно защищает от коррозии
Использование
Для надежного и быстрого соединения цепей и тросов между собой, а также их крепление к различным конструкциям. Штифт заворачивают рукой до отказа, а затем зажимают ключом или другим инструментом.
