Угольник плоский 400х250х6 мм Kinex 4013
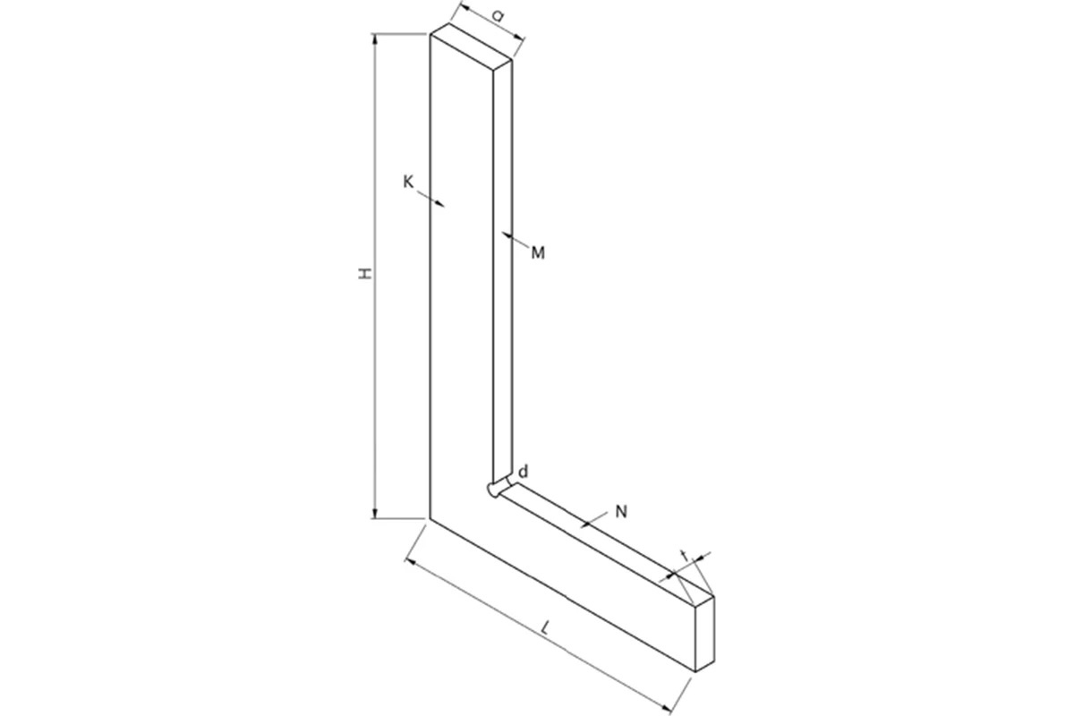
Угольник Kinex (K-MET) поверочный 400х250 мм, Тип УП, PN255120 4013 предназначен для контроля перпендикулярности в процессе разметочных и сборочных работ. Инструмент представляет собой пластину Г-образной формы, с плоскими доведенными рабочими поверхностями Изготовлен из инструментальной легированной стали, группы CSN 1.1525.
- Стандарт: PN255120
- Допуск перпендикулярности: 0,116мм
- Тип
слесарный угольник плоский
Вид угольника
УП (слесарные плоские)
Материал
инструментальная легированная сталь
Длина большей стороны
400 мм
Длина меньшей стороны
250 мм
Номер СИ в госреестре
нет
Габариты без упаковки
400х250 мм
Вес нетто
0.811 кг
