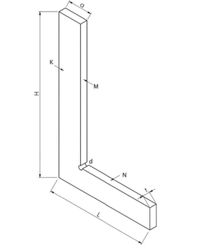
Угольник Kinex поверочный 200х130 мм, Класс 1, Тип УП, DIN875 4033-12-020 предназначен для контроля перпендикулярности в процессе разметочных и сборочных работ.
Тип УП, с плоским основанием.
Изготовлен из инструментальной легированной стали, группы CSN 1.1525.
- Стандарт: DIN875
- Класс точности: 1
- Допуск перпендикулярности: 0,020мм
Комплектация
- Угольник
Информация об упаковке
Единица товара: Штука
Вес, кг: 0.49
Длина, мм: 200
Ширина, мм: 130
Высота, мм: 10
